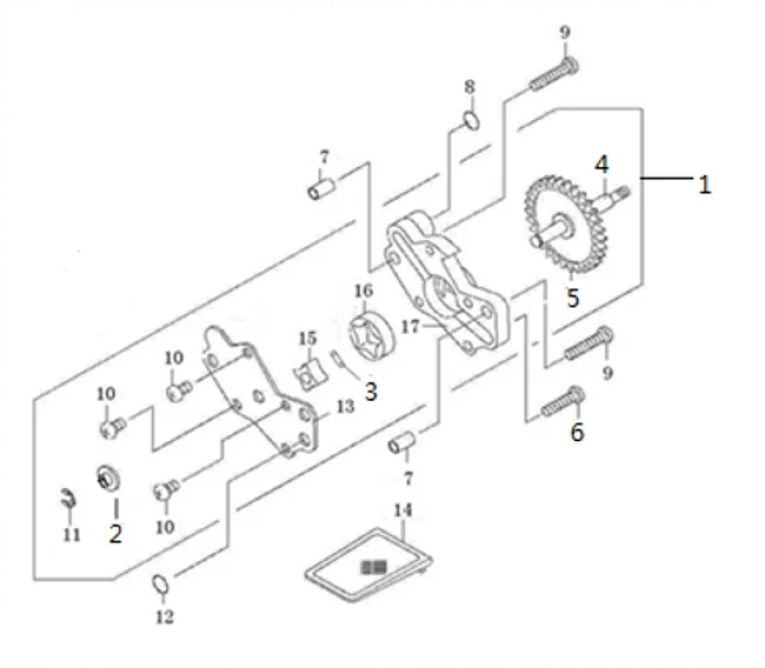
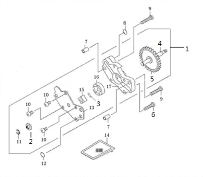
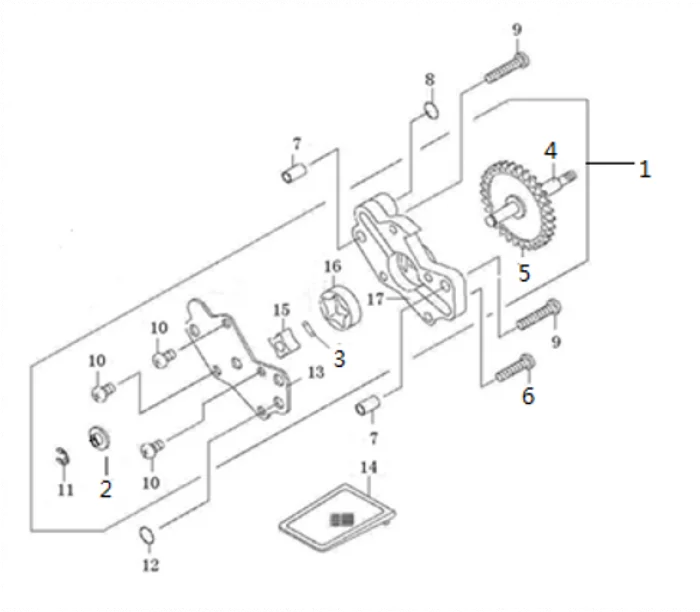
Купить запчасти - Насос масляный от двигателя YF300 совместим с Мотоцикл VOGE DS300. Всего 7 позиций.
| № на схеме | Наименование | Заказать | |
|
1
|
Насос масляный в сборе
150010111-0002
|
Цена:
4091.00
Кол. на схеме:
1
|
|
|
6
|
Болт M6*L25
380200064-0004
|
Цена:
9.00
Кол. на схеме:
1
|
|
|
7
|
Втулка направляющая 8*14
380600002-0001
|
Цена:
8.00
Кол. на схеме:
2
|
|
|
8
|
Кольцо уплотнительное 6.5х3.3
380840559-0001
|
Цена:
17.00
Кол. на схеме:
1
|
|
|
9
|
Болт M6*L30
380200024-0003
|
Цена:
9.00
Кол. на схеме:
2
|
|
|
12
|
Кольцо уплотнительное 8.5х2.5
380840560-0001
|
Цена:
14.00
Кол. на схеме:
1
|
|
|
14
|
Сетка маслозаборника
150290017-0001
|
Цена:
55.00
Кол. на схеме:
1
|
|