Top.Mail.Ru
Внимание! Уважаемые пользователи.
Каталог запчастей доступен только в демонстрационном режиме. Заказать запасные части и аксессуары вы можете у официальных дилеров.

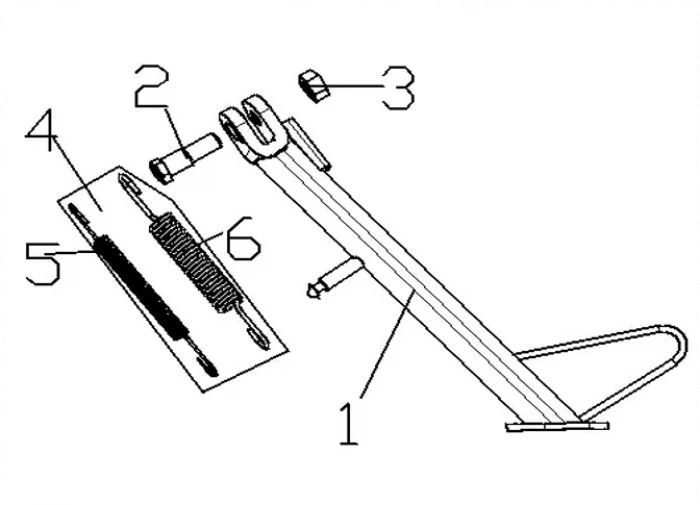
Запчасти - Подставка боковая

Купить запчасти - Подставка боковая совместим c Мотоцикл VOGE AC300X. Всего 4 позиций. Оплата картой доставка по России.

№ на схеме Наименование Заказать
1
Цена:
769.50
Кол. на схеме:
1
2
Болт подставки боковой
380020096-0001
Цена:
41.00
Кол. на схеме:
1
3
Гайка М10
380340010-0004
Цена:
17.00
Кол. на схеме:
1
4
Цена:
168.30
Кол. на схеме:
1