Купить запчасти - Сиденье совместим c Мотоцикл LONCIN DS250. Всего 3 позиций. Оплата картой доставка по России.
| № на схеме | Наименование | Заказать | |
|
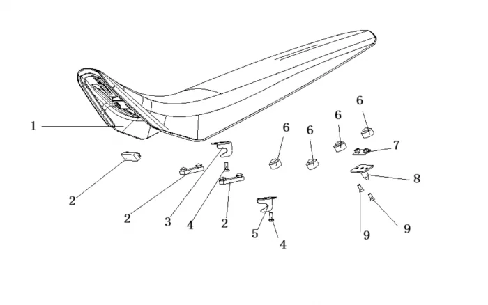
1
|
Сиденье в сборе
330011164-0001
|
Цена:
4515.00
Кол. на схеме:
1
|
|
|
4
|
Болт M6*L16 арт 380070013-0001
380070013-0001
|
Цена:
9.00
Кол. на схеме:
2
|
|
|
6
|
Отбойник резиновый
330120238-0001
|
Цена:
25.00
Кол. на схеме:
4
|